Schwerelosigkeit selbst gebaut
Infos zum Experiment
Ab 15 Jahren
Bis zu 6 Stunden
Mit freundlicher Genehmigung von www.DLR.de/next
Materialien
Computer
Klebstoff
Filz
Metallzunge aus Schnellhefter
großes Kissen
kleines Marmeladenglas
ZusatzanschaffungenWebcam mit Software
USB-Verlängerungskabel
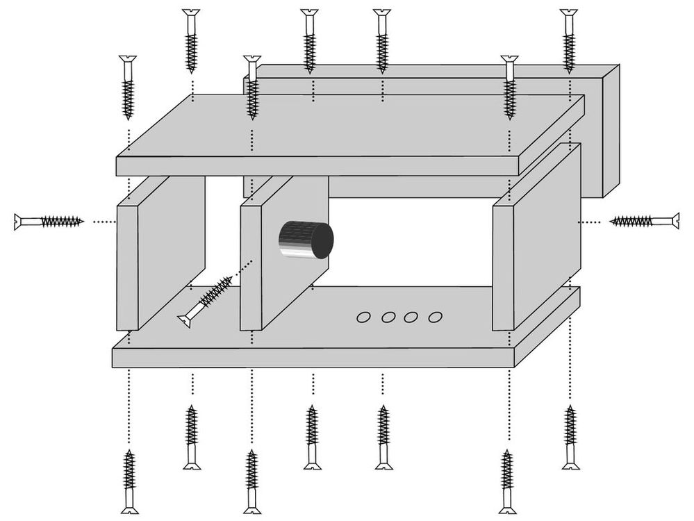
6 Spanplatten
16 Holzschrauben
1 Holzschraube
Klettband
2 Metallplatten
2 Rändelschrauben
3 Magnete
Holzstange

Beschreibung des Experiments
Massen ziehen sich gegenseitig an. Je größer eine Masse ist, desto größer ist ihre Massenanziehungskraft. Die Erde zieht also alle Dinge in ihrer näheren und weiteren Umgebung zum Erdmittelpunkt hin. Das gilt für eine Feder genauso wie für einen Hochspringer. Aber während Objekte ungebremst zum Erdmittelpunkt hinstürzen, herrscht in dem Objekt selbst Schwerelosigkeit. Das klingt seltsam, doch man kann es sich an folgendem Beispiel gut vorstellen: In einem abstürzenden Aufzug wäre man nahezu schwerelos.
Der Aufzug wird in Richtung Erde nach unten fallen, aber in ihm purzeln wir wie die Astronauten in der ISS quer durch die Kabine. Schwerelosigkeit ist also eine Frage des Bezugssystems. Auch die ISS „fällt“ um die Erde herum. Sie ist immer noch im Einzugsbereich der Schwerkraft, die ja sogar den viel weiter entfernten Mond auf seiner Bahn hält.
Wenn wir Experimente mit Schwerelosigkeit durchführen wollen, nehmen wir daher am besten eine Fallkapsel. Während sie nach unten fällt, ist ihr Inhalt schwerelos. In professionellen Falltürmen (z.B. ZARM in Bremen) oder Fallschächten dauert der Zustand der Schwerelosigkeit bis zu 10 Sekunden. Einige Experimente kann man aber auch schon in viel kürzerer Zeit durchführen – eben in unserer selbstgebauten Fallkapsel.
Das Experiment:
Ihr konstruiert eine Fallkapsel, in die nacheinander zwei verschiedene Experimente eingebaut werden. Während die Kapsel zu Boden fällt, herrscht in ihrem Inneren Schwerelosigkeit. Mit einer Webcam, die ihr samt Beleuchtung ebenfalls in die Fallkapsel eingebaut habt, zeichnet ihr auf, was passiert, während die Kapsel zu Boden fällt. Ihr könnt vor dem Experiment überlegen, was wohl in der kurzen Phase der Schwerelosigkeit geschehen wird. Nach den Versuchen analysiert ihr die Videoaufzeichnung und vergleicht den tatsächlichen Verlauf mit euren Annahmen.
Eine Schritt-für-Schritt-Anleitung des Experiments gibt es im unten genannten PDF.
Fotoquelle: DLR
Bestätigen für mehr Datenschutz:
Erst wenn Sie auf OK klicken, können Sie den Artikel auf empfehlen. Nach Ihrer Empfehlung werden keinerlei Daten mehr an oder Dritte gesendet.
Mehr dazu hier: Datenschutzerklärung
